SCHMIZO Nutsche filter

Reactor with glass filter plate Reactor with glass filter plate

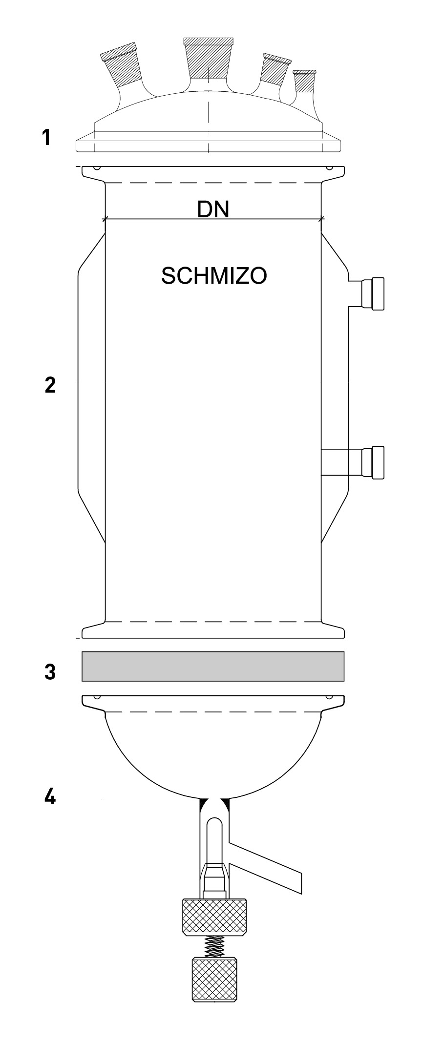
Nutsche filter with glass filter plate

Glass vessel: 0.1 to 15 liter
Pressure: 1mbar to ambient 
Temperature–60°C to +200°C 
Porosities 1 to 500 um


Schmizo Nutsche filters are a unique solution for Lab and R&D processes. These units allow for small filtration setups below 15 liters.

Two setups are available for SCHMIZO Nutsche filters: 
Filter Reactor – A reaction vessel (can be single walled, jacketed, or triple walled) with a fixed filter. Two options are available for this solution where the fixed filter allows for the media to pass through more passively or allows the media to sit on the filter plate. 

Filter element PTFE with sealed glass filter plate Filter element PTFE with sealed glass filter plate

Filter element PTFE with sealed glass filter plate

Nutsche filter - A filter element is clamped between a column (with or without heating jacket) and a separate glass section with a bottom outlet. This is a solution that will allow for the easiest exchange of the filter element. 

 

BACK TO PRODUCT OVERVIEW

Examples

Worldwide support
Swiss made
Market leading quality
Technological leadership
Global presence

Talk to us

Do you have any questions? Would you like to get in touch with us personally? Ask our specialists.  We look forward to hearing from you!